Amazon (AMZN) has won a patent for a multifaceted last-mile autonomous robot the company is calling, prosaically, a “storage compartment vehicle” (SCV), designed to deliver and retrieve items potentially from multiple customers on a single trip.
The patent application, published Tuesday, describes a modular storage compartment attached to a “propulsion mechanism that could navigate multiple terrains, air, land and water.”
But don’t count your robots before they’re hatched. Patents do not necessarily reflect current developments in products and services, an Amazon spokesperson told FreightWaves.
Like many companies, according to the spokesperson, the e-giant files a number of forward-looking patent applications that explore the possibilities of new technologies.
Disclaimers aside, the Amazon patent offers a glimpse into the tech giant’s vision of the future of e-commerce, especially its approach to the so-called “final 50 feet” of delivery. That stretch begins at the load/unload space at the curb and ends when customers receive their goods.

Dozens of companies are targeting this leg of online delivery. That the Amazon vehicle is at once plane, car and boat is one way the proposed device stands out from the crowd.
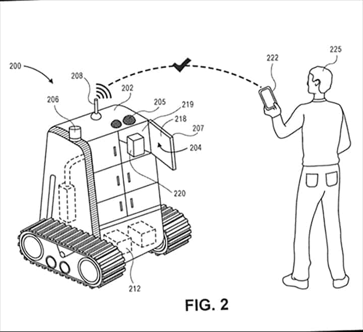
In a series of illustrations that can only be described as whimsical, the patent application showcases what it calls the vehicle’s “primary form of propulsion” — caterpillar-like tracks that “provide stability for the SCV when navigating along uneven terrain.”
In other implementations, according to the application, “the tracks may include other forms of ground based propulsion (e.g., wheels, tires), water based propulsion (e.g., propellers, pontoons), aerial propulsion (e.g., jets, turbo-jets, fans), or any combination thereof.”
The storage vehicle is similar in some respects to the Amazon Scout last-mile delivery robots the company is testing in the Seattle area. But it comes with more features, including individually accessible modular storage compartments that can hold multiple items.
It also fits into a more fully realized vision of e-commerce, defined in the application by rapid delivery and the return of items as much as by the purchase.
“The SCV may navigate to a delivery location and customers may retrieve ordered items from the storage compartments of the SCV,” according to the application. “Likewise, customers may return items into storage compartments of the SCV.”
In one scenario, a shopper orders an item from an online marketplace, selects the SCV as a delivery option, then interacts with the vehicle by mobile phone when it arrives, plugging in a code to open the storage compartment holding the purchased item.

In another, “a customer may arrange for a return of an item and select to return the item into a storage compartment of an SCV while the SCV is positioned at a delivery location.”
The delivery locations may be any place that is accessible by an SCV: the sidewalk, building, garage or personal residence.